
Unveiling the Bently Nevada 330180-X1-00 MOD: 145004-128 –
The Heartbeat of Industrial Machinery Health
Q: What is the Bently Nevada 330180-X1-00 MOD: 145004-128, and what role does it play in industrial systems?
A: The Bently Nevada 330180-X1-00 MOD: 145004-128 is a high-precision proximity transducer system designed to monitor critical parameters like vibration and axial displacement in rotating machinery. It serves as the "eyes and ears" of industrial control systems, detecting early signs of mechanical faults to prevent unplanned downtime and catastrophic failures.
Q: Why is the 330180-X1-00 MOD: 145004-128 particularly valued in harsh environments?
A: Engineered with robust materials and advanced signal conditioning, the 330180-X1-00 MOD: 145004-128 operates reliably under extreme conditions, including high temperatures, strong vibrations, and electromagnetic interference. Its IP67-rated construction ensures resistance to moisture and contaminants, making it ideal for industries like oil and gas, power generation, and heavy manufacturing.
Description of the 330180-X1-00 MOD: 145004-128
The 3300 series monitors are trusted products tested by countless users worldwide.
The 3300 system provides continuous online monitoring for machinery protection applications. It is the most powerful and flexible system in our framework-based system, possessing many features and functionalities not found in other systems.
The Bently Nevada 330180-X1-00 MOD: 145004-128 exemplifies innovation in machinery health monitoring.
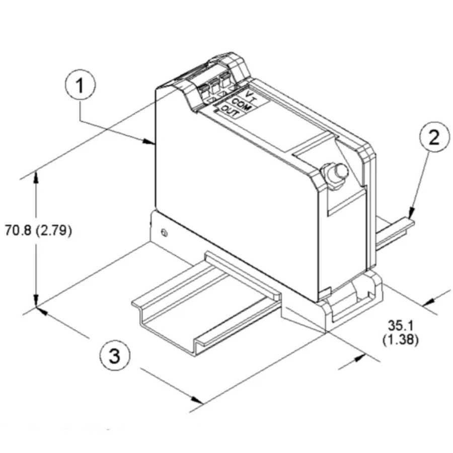
Featuring a stainless steel housing and an integrated coaxial cable with a ClickLoc connector, this device guarantees seamless integration into existing automation frameworks.
Its dynamic range covers gaps from 0.5 mm to 4.5 mm, delivering calibrated voltage outputs proportional to displacement.
The 330180-X1-00 MOD: 145004-128 also incorporates self-diagnostic capabilities, enabling real-time fault detection in sensor circuits. Designed for longevity, it supports predictive maintenance strategies, reducing operational risks and enhancing productivity.
Bently Nevada 330180-X1-00 MOD: 145004-128
|
Model |
330180-X1-00 |
|
|
MOD |
145004-128 |
|
|
Type |
Proximity Sensor |
|
|
Output |
4-20 mA |
|
|
Operating Temperature |
-40°C to +85°C |
|
|
Power Supply |
24 VDC |
|
|
Measurement Range |
Adjustable, typically up to 2 inches |
|
|
Housing Material |
Stainless Steel |
Key Benefits
1. Extreme Environment Adaptability
Wide Temperature Operation: Supports -40°C to +85°C operating range, covering most global industrial scenarios
Fully Sealed Architecture: IP67 rating effectively resists oil, moisture, and dust contamination
2. Industrial-Grade Reliability Design
Military-Grade Connector: ClickLoc interface ensures zero momentary signal loss in vibrating environments
Stainless Steel Armor: AISI 304 stainless steel housing provides 360° mechanical protection
3. Precision Measurement Capability
Micron-Level Resolution: Achieves ±0.1% full-scale accuracy, precisely capturing equipment health status
Anti-Interference Transmission: 4-20mA analog signal output supports 300-meter lossless transmission
4. Full Lifecycle Value
5-Year Warranty Period: Twice the industry standard product guarantee period
Predictive Maintenance: Reduces unexpected downtime risk by 60% through early fault diagnosis
5. Smart Integration Features
Plug-and-Play Configuration: Compatible with Bently Nevada System 1® diagnostic platform
Self-Diagnostic Function: Real-time monitoring of probe health status and circuit integrity
To the Industrial Control Sector
The Bently Nevada 330180-X1-00 MOD: 145004-128 is indispensable in modern industrial automation for its unparalleled reliability and precision. By providing real-time data on machinery health, it empowers plants to transition from reactive to predictive maintenance, minimizing downtime and optimizing asset lifespan. In sectors like energy and manufacturing, where equipment failures can lead to massive financial losses, the 330180-X1-00 MOD: 145004-128 acts as a safeguard against unforeseen breakdowns. Furthermore, its compatibility with IoT-enabled systems allows for seamless data integration into platforms like Bently’s System 1®, fostering smarter, data-driven decision-making. As industries embrace Industry 4.0, the 330180-X1-00 MOD: 145004-128 remains a cornerstone of resilient and efficient operations, ensuring that machinery not only performs but thrives in demanding environments.
|
330104-00-05-90-02-05 |
330104-00-03-10-01-05 |
|
330104-10-23-10-01-00 |
330104-00-06-10-01-00 |
|
330104-00-05-50-02-CN |
330104-02-14-50-12-RU |
|
330104-05-10-50-02-RU |
330104-00-07-50-02-05 |
|
330104-00-20-05-02-00 |
330104-10-20-05-02-00 |
|
330104-10-20-10-02-05 |
330104-00-11-10-01-00 |
|
Whatsapp/phone |
|
Standard probe
Bently Nevada 330104-00-05-90-02-05 8 mm Probe
This advanced proximity probe from Bently Nevada is engineered for exceptional performance in demanding industrial environments. With its 8 mm detection distance, it excels in providing accurate, non-contact measurements, making it ideal for vibration monitoring, position control, and general industrial monitoring tasks.Crafted from durable stainless steel, the probe ensures reliability and longevity even under harsh conditions. The use of an M12 connector facilitates easy installation and maintenance, enhancing operational efficiency.
Explosion-proof certified type
Bently Nevada 330104-00-05-50-02-CN Proximity Probes
The Bently Nevada 330104-00-05-50-02-CN 3300 XL 8 mm Probe is a critical component designed to deliver highly accurate and reliable proximity measurement for industrial automation systems. Specifically built for vibration monitoring in harsh environments, this probe is part of the 3300 XL series, known for its high performance and rugged durability. This 8 mm probe ensures continuous monitoring of machinery health, enabling predictive maintenance and minimizing unplanned downtimes.
High temperature special type
Bently Nevada 330104-00-20-05-02-00 3300 XL 8 mm Proximity Probes
The Bently Nevada 330104-00-20-05-02-00 is a high-performance proximity probe from the 3300 XL series, engineered for precision vibration and position monitoring in rotating machinery. It features a 5 mm probe tip, robust stainless steel housing, and a 20-foot cable for versatile installation. Designed for early fault detection, this probe measures shaft displacement, vibration, and axial position with excellent linearity.